Patents
BioXFEL researchers are pioneering new methods of sample delivery, nano crystallization, and other technologies. We have patented several of our key developments to enable our industrial partners to access these technologies.
|
Gas dynamic virtual nozzle for generation of microscopic droplet streams A nozzle for producing a single-file stream of droplets of a fluid, methods using the nozzle, and an injector, comprising the nozzle of the invention, for providing the single-file stream of droplets of a fluid to a high-vacuum system are described. The nozzle comprises two concentric tubes wherein the outer tube comprises a smoothly converging-diverging exit channel and the outlet end of the first tube is positioned within the converging section of the exit channel. |
![]() |
Apparatus and methods for a gas dynamic virtual nozzle A nozzle for producing a liquid jet or a single-file stream of droplets of a fluid, methods using the nozzle, and an injector comprising the nozzle of the invention for providing the liquid jet or single-file stream of a fluid to a vacuum system are described. |
|
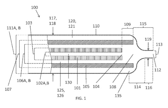
Nozzle Apparatus and methods for use thereof
Nozzle Assemblies and methods of use for producing a liquid jet are disclosed that may be permit adjustable time delays between mixing of fluids and observation of reactions. An example nozzle assembly includes: a housing having an inlet and an outlet and a first channel defined therebetween, where the housing includes a gas focusing aperture defining the housing outlet; an intermediate tube disposed within the first channel of the housing, where the intermediate tube has an inlet and an outlet and defines a second channel therebetween; and a central tube disposed within the second channel of the intermediate tube, where the central tube has an inlet and an outlet and defines a third channel therebetween, where the central tube outlet is longitudinally spaced apart from the intermediate tube outlet such that the intermediate tube outlet is disposed between the central tube outlet and the gas focusing aperture's inlet. |
|
Apparatus and Methods for Lipidic Cubic Phase (LCP) Injection for Membrane Protein Investigations An injector apparatus and methods for use, where the injector apparatus comprises: (a) hydraulic stage having first and second ends and including a housing defining a cavity, a primary plunger disposed in the cavity and a secondary plunger, (b) a pressurization system coupled to the hydraulic stage's first end, where the primary plunger is in fluid communication with the pressurization system and is in mechanical communication with the secondary plunger, (c) a reservoir bore defined in the hydraulic stage housing and configured to receive the primary plunger's second end, where the secondary plunger is disposed within the reservoir bore and (d) a nozzle assembly including a housing, a gas tube and a nozzle capillary, where the nozzle capillary is partially disposed in and is substantially coaxial with the gas tube, where the nozzle capillary's first end is in fluid communication with the reservoir bore's second end. |
![]() |
Nano seeding tools to generate nanometer size crystallization seeds A kit and a method for using the kit to generate nanoseeds from protein nanocrystals and aggregates is disclosed. The method comprises mixing a plurality of beads with a protein nanocrystal or aggregate, and agitating the mixture to generate the nanoseeds. Nanoseeds made by disclosed embodiments may be of a high quality, as evaluated by TEM, and can be used to produce high quality protein crystals. Additionally, spectroscopic techniques, such as UV fluorescence and/or brightfield microscopy can be used to identify aggregates suitable to produce nanoseeds. |
|
Methods, Systems and Apparatus for Size-Based Particle Separation
A microfluidic device for size-based particle separation and methods for its use, where the microfluidic device comprises: (a) an inlet reservoir, where the inlet reservoir is configured for communication with an inlet electrode, (b) an insulator constriction coupled to the inlet reservoir via a microchannel, where the insulator constriction comprises an insulating material, and (c) a plurality of outlet channels each defining a first end and a second end, where the first end of each of the plurality of outlet channels is coupled to the insulator constriction, where the second end of each of the plurality of outlet channels is coupled to one of a plurality of outlet reservoirs, and where the plurality of outlet reservoirs are configured for communication with one or more outlet electrodes. |
![]() |
Inert Crystal Delivery Medium for Serial Femtosecond Crystallography A system and method for preparing a crystal delivery medium comprising agarose for serial femtosecond crystallography and uses thereof. |
|
3D Printed Microfluidic Mixers and Nozzles for Crystallography A gas dynamic virtual nozzle with a 3D printed mixer integrated in line. Using a two photon 3D printer. Patent application filed. |
|
Methods, Systems and Apparatus for Microfluidic Crystallization Based on Gradient Mixing A microfluidic apparatus, systems and methods for microfluidic crystallization based on gradient mixing. In one embodiment, the apparatus includes (a) a first layer, (b) a plurality of first channels and a plurality of vacuum chambers both arranged in the first layer, where the plurality of vacuum chambers are each coupled to at least one of the first channels, (c) a membrane having first and second surfaces, where the first surface of the membrane is coupled to the first layer, (d) a second layer coupled to the second surface of the membrane, (e) a plurality of wells and a plurality of second channels both arranged in the second layer, where the wells are each coupled to at least one of the plurality of second channels and (f) a plurality of barrier walls each disposed in the plurality of second channels and arranged opposite to one of the plurality of vacuum chambers. |
![]() |
Metal electrode based 3d printed device for tuning microfluidic droplet generation frequency and synchronizing phase for serial femtosecond crystallography Methods and systems are described for tuning an electrical field gradient for insulator-based di electrophoresis (iDEP). A fluidic layer defines a fluidic channel adjacent to a substrate. A deformable membrane is positioned adjacent to the fluidic channel. An actuator controllably causes the deformable membrane to deflect into the fluidic channel restricting a fluidic flow in the fluidic channel. A control system is configured to tune an electrical field gradient by operating the actuator to adjust a magnitude of the deflection of the deformable membrane into the fluidic channel. |







